
来源 独角金融
作者 肖嘉文
云南唯一一家城商行——富滇银行股份有限公司(下称“富滇银行”)正值多事之秋。
近日,云南省纪委省监委官方微信公众号“清风云南”通报显示,富滇银行金融市场部原总经理杨溢、富滇银行投资银行部原副总经理孙军魁,二人涉嫌严重违法,目前正在接受云南省纪委监委驻富滇银行纪检监察组和楚雄州监委监察调查。
据独角金融梳理,早在2018年,这家拥有百年品牌历史的富滇银行便进入“水逆期”,遭遇领导班子大换血、原副行长孔彩梅“落马”、用人导向不正等管理问题也在巡察中暴露出来。4年半时间,富滇银行总计有10名高管被查。
与此同时,作为2018年就筹备上市的省级城商行,近年来多次的人事变动,净利润的忽高忽低、内控隐患等问题,给富滇银行的上市之路增加变数。
1
10名高管“落马”,5人有“下海”经历
两名高管在同一天被调查,对富滇银行来说,类似情况并非首次。
比如,2023年2月27日,富滇银行小企业信贷专营中心总经理黄红松和不良资产清收中心副主任郑春华涉嫌严重违纪违法,主动投案,接受调查;更早前,2022年12月16日,富滇银行昆明五华支行原行长许永平、原市场部经理胡娟因涉嫌严重违纪违法,主动投案,接受调查。
实际上,自2018年富滇银行党委委员、副行长孔彩梅因涉嫌严重违纪违法被调查起,富滇银行高管人事动荡便拉开序幕。
独角金融根据公开信息梳理获悉,4年半以来,包括杨溢、孙军魁在内,富滇银行共有10名高管接连被调查,其中包括4名高管主动投案。

高管“落马”中,最为触目惊心的,当属孔彩梅案件。据云南省纪委监委发布的专题片《“理财高手”的糊涂人生账》披露,孔彩梅长期奴役下属,充当恶势力“保护伞”,私自给企业放高利贷、贪污受贿成习惯,“白天当银行行长,晚上作钱庄庄主”。
颇值得注意的是,除被查金融干部人数众多外,富滇银行多名被查人员均有“下海”经历,从银行投身相关企业。
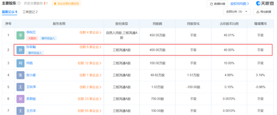
例如,此次被查的孙军魁,离开富滇银行后,担任过深圳中电能源控股有限责任公司董事长,亦曾在资本市场上显露身影。目前,孙军魁是新三板公司云南恒荣(837222.NQ)持股40%的股东、董事。

而云南恒荣的董事长董春、总经理严伟、董事何艳等多人均曾有在云南当地银行从业经历。其中,董春曾在2011年末-2013年11月担任富滇银行投行部投资经理;严伟也曾在一家股份行工作多年。
而前述同时被查的许永平和胡娟,则共同担任过新三板摘牌公司智信股份的高管,离职后分别担任智信股份的总经理和财务总监。
针对此类情况,中纪委官网曾发文称,严查“在职时提前筑巢,离职后权力变现”等腐败问题,破除银企旋转门。从纪检监察机关通报多起金融系统已离职、退休干部接受审查调查的案例来看,银企“旋转门”式腐败中,提前编织权力网、“期权式腐败”等特征明显。
2
涉诉金额超80亿,内控困局待解
高管接连落马及多次遭处罚,将富滇银行的内控能力放置到聚光灯下。
2018年被查的孔彩梅,她就曾多次利用自己手中的权力,一方面通过控制审批企业申请贷款,接受多个企业的高额贿赂。另一方面,利用部分私营企业主急需用钱的心理,自己筹来的资金高息借贷给他们,“白天当银行行长,晚上作钱庄庄主”。富滇银行巨额损失,孔彩梅反而牟得上千万元的利益。
2019年3月,中国裁判文书网公布的一份判决书,揭开了富滇银行10亿元担保案——一场涉及三家信托、两家银行、多家企业的多角借贷大戏。
多份裁判文书还原了案件的细节与过程。
2015年4月20日,富滇银行向昆明市公安局报案,称其公司总行办公室职员私自将公章用作私用,并为云南中滇海盈资产管理有限责任公司(下称“海盈资产”)向中江信托借款10亿元出具《借款保函》,从而骗取了10亿元的贷款。后因海盈资产无力偿还上述10亿元资金,富滇银行为免除其10亿元的担保责任,利用云南集成广福房地产开发有限公司(下称“广福地产”)想获得贷款的心理,承诺可以向广福地产提供21亿元的贷款,但条件是必须收购海盈资产,也就是说“要贷款先背10亿不良”。
为了达成21亿元借款条件,广福地产又签署了一系列虚假合同,并成功拿到吉林信托13亿元信托贷款。一环扣一环,后来为了偿还吉林信托债务,又再度通过新时代信托借款。
实际上,包括上述案件在内,近年来,富滇银行诉讼案件时有发生,且多与该行内控合规漏洞相关,仅2022年,富滇银行及其分行因内控问题共收到10份罚单。
具体来看,富滇银行及其分支机构此前曾多次因授信管控严重不审慎、向关联方发放流动资金贷款违规承接本行不良、贷款“三查”不尽职等事由收到监管罚单。
不仅如此,据2022年年报披露,富滇银行单户诉讼金额超过1000万元以上的重大涉诉案件,共计102件,涉诉标的本金约81.61亿元。其中有75件已经进入执行阶段,涉案标的本金37.26亿元。

多位高管的落马后,富滇银行管理层经历了一系列人事更迭。其中,2018年8月开始,洪维智一直担任该行董事长。2021年4月,洪维智辞职,原行长代军升任董事长,此后行长职位一直空缺。
2022年末该行年报披露,时任中信信托副总经理的刘寅拟任该行行长,刘寅此前还曾任云南国际信托投资有限公司投行部执行总经理、中航信托常务副总经理、中信信托党委委员、副总经理等。
继两任原副行长“落马”后,2023年2月中旬,该行副行长为白剑龙,担任副行长前,白剑龙为该行董事会秘书兼审计部总经理。目前富滇银行副行长共有3位,分别是王克强、白剑龙和纳然。
3
资本充足率连降三年,闯关IPO 5年未果
富滇银行是一家拥有百年历史的商业银行,该行创立于1912年,前身是爱国将领蔡锷创办的云南省公钱局,曾通过发行滇币调控云南金融,创造过一段辉煌的金融史。2007年12月,富滇银行在原昆明市商业银行基础上重组成立。15年来,富滇银行资产总额从365亿元增长到3420亿元,实现近10倍增长。
据富滇银行2022年年报显示,报告期末,该行各项存款余额2315亿元,同比增加189亿元;各项贷款余额1960亿元,同比增长161亿元,投资资产规模为1099亿元, 同比增长106亿元,全年实现营业收入58.44亿元,同比增长1.5亿元;实现净利润7.26亿元,同比增长1.16亿元。
从盈利能力看,随着贷款及投资资产规模的增长,2022年富滇银行净利润有所增长,但受信用减值损失规模较大影响,其盈利水平较弱,盈利能力有待提升。截至2022年末,该行信用减值损失达26.67亿元,是一年净利润的3.6倍。
拉长时间线来看,近年来富滇银行净利润波动较大。2017-2022年,富滇银行分别实现净利润11.26亿元、1.06亿元、3.77亿元、5.4亿元、6.17亿元和7.26亿元,对应增速分别为2.27%、-90.61%、256.28%、43.32%、14.24%和18.78%。
从业绩数据可以看出,富滇银行2018年净利润受损严重,虽然2019-2021年期间净利润实现稳步增长,但是离2017年11.26亿元的净利润仍有较大差距。

富滇银行的营收增速也明显放缓。相较于2021年12.53%的营收增速,该行2022年营收增速2.76%,较前一年下降9.77个百分点。
而衡量盈利能力的几项指标也有所弱化,净息差由2021年的1.66%降至1.63%;成本收入比由39.49%升至39.7%;资产利润率虽由0.2%升至0.23%,但相比同期我国商业银行0.76%的平均值处于较低水平。
随着高层管理人员的稳定,富滇银行的业绩有所增长。一季度该行营收14.68亿元,同比增长8.7%,净利润2.72亿元,同比增长24.2%。
但在资产质量方面,压力不容小觑。联合资信报告称:“富滇银行不良贷款率整体呈下降态势;但考虑到其逾贷比较高,且其关注类和逾期贷款占比明显增长,同时存在一定规模的重组类贷款,信贷资产质量面临一定的下行压力,拨备水平承压。”
还有一点需要说明的是,富滇银行的资本充足率已连续3年下滑,2019年至2022年依次为14.95%、13.23%、13.02%及11.61%。

增资扩股、发行无固定期限资本债券,是富滇银行补充资本的主要手段,尽管资本充足率下降,但目前资本尚处于充足水平,未来如果业务持续增长,核心资本或将面临一定的补充压力。
盈利能力波动及资产质量压力下,富滇银行一直未能登陆资本市场。
早在2018年,富滇银行曾提出上市目标。在2018年年报致辞中,时任董事长洪维智表示,该行明确了增资+上市“两步走”的资本补充思路,对标上市银行公司治理要求,持续完善现代商业银行公司治理体系。
当下对于富滇银行来说,比上市更为关键的是完善内控,提高客户体验,,未来才能走的更远。你认为该行内控管理与经营将如何调整和发展?欢迎留言讨论。
