炒股就看金麒麟分析师研报,权威,专业,及时,全面,助您挖掘潜力主题机会!
来源:券业行家
冻结全部股权,私募机构汇垠天粤入股多家上市公司,还是券商间接股东
刚在《实锤!爱建证券净利润为负》一文中点评过爱建集团,行家发现其股东方汇垠天粤,新增一项司法冻结。而这家规模不小的私募机构,在二级市场还有不少表现。
司法冻结公告提及主要股东
4月12日晚间,爱建集团发布公告称,收到股东广州汇垠天粤股权投资基金管理有限公司(简称:汇垠天粤)《告知函》,其所持2,091万股股份全部被司法冻结,期限三年。

浏览公告,行家得知汇垠天粤持股比例为1.29%,因合同纠纷案被广州市中级人民法院(简称:广州中院)司法冻结。不过,爱建集团未提及股东方具体的涉诉事件。

爱建集团表示,汇垠天粤与华豚企业为一致行动人。华豚企业持有2,408.9万股,占公司总股本的1.49%,华豚企业冻结股份1,580万股,占其所持股份的65.59%,占公司总股本的0.97%:两家合计持股2.78%,合计冻结2.26%。

看到这里,行家有不少疑问。“华豚企业”是什么公司?与汇垠天粤有何关联,或者说如何构成一致行动人?这两家股份加起来占比为2.78%,公告中提到的一致行动人“合计持有公司股份5%以上”,这又是从何说起?
行家查看了爱建集团2022年报,在十大股东关系中有这一段说明。

根据年报列示的简称名单,十大股东,对比企查查信息,行家终于恍然大悟。

原来,上海华豚企业管理有限公司(简称:华豚企业)与广州基金国际股权投资基金管理有限公司(简称:广州基金国际)为关联方和一致行动人。汇垠天粤为广州基金全资子公司,广州基金国际则是广州基金旗下位于香港的子公司。通过这一层关系,广州基金(持股6.47%)、华豚企业(持股1.49%)和汇垠天粤(持股1.29%),三家股东构成一致行动人。

堂堂上市公司,发布的正式公告中只写了简称,难怪行家看不明白。
关联私募机构多达19家
据中基协备案信息,汇垠天粤是一家规模可观的私募机构。成立于2014年4月,至今已有九年;2015年1月登记备案。注册资本高达27.4亿元,实缴比例为100%。现有48名全职员工,其中44名取得基金从业资格;存续产品9只,管理规模在20亿元到50亿元区间。

由于汇垠天粤的关联私募机构多达19家,中基协将其列入红字提示项目。

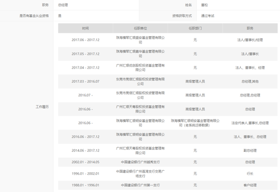
高管备案信息显示,汇垠天粤的总经理董松,曾在建设银行任职多年,从客户经理成长为支行行长、总经理。不过,在转型私募行业时,这位资深人士还是通过考试取得基金从业资格。

合规风控负责人林荣华,出身“四大”,曾在九鼎投资(600053.SH)旗下的昆吾九鼎投资管理有限公司任职。

巧合的是,汇垠天粤的两名副总,早年均在中国电信任职,并且都显示任职部门为“号百”。
据裁判文书网,自2013年起,中国电信旗下的号百信息服务有限公司,出现了内外勾结倒卖个人信息的大案:超过两亿条个人信息泄露,疑似分别流向平安普惠江苏分公司、重庆市两江新区长运小额贷款有限公司、青岛琳琅满目网络科技有限公司等企业。这起案件曾经登上315晚会,三名被告非法获利超过2000万元,均被判入狱。
二级市场主要股东名单
在二级市场,行家也发现了汇垠天粤的身影。

股权穿透信息显示,汇垠天粤目前持有万孚生物(300482.SZ)11.07%的股权。据《广州万孚生物技术股份有限公司2022年年度报告》披露,汇垠天粤是仅次于实控人李文美、王继华夫妇的第三大股东,并且是第一大流通股东。
而这家私募参股的上市公司不止这家。据广汽集团(601238.SH)2022年报,汇垠天粤持有3.78%股权,为第三大股东。

换帅未见备案信息变更
汇垠天粤在中基协备案的实控人,也就是前面提到的广州基金(广州产业投资基金管理有限公司),其实也是一家私募机构。

中基协备案信息显示,广州基金成立于2013年2月,2014年4月首批备案为私募管理人。目前,广州基金仅有一只早年成立的产品——广州产业转型升级引导基金,但其管理规模在5亿元到10亿元之间。
高管履历显示,广州基金的法定代表人、董事长、信息填报负责人韩颖,同样有着银行任职经历,曾是锦州银行股份有限公司副行长。
企查查信息显示,广州产投基金为拥有私募“牌照”的发债企业,这似乎并不多见。
就在3月30日,广州产投基金发布债券公告称,公司涉及多起诉讼仲裁,两起目前法院暂未安排开庭时间,一起案件上述尚未判决,一起已执行完毕。
同日发布的公告称,韩颖先生由于个人原因,不再担任董事长等职务。这一重大事项,目前还没有在中基协登记变更。
间接参股券商业绩亏损
作为券业人士,行家还想说说爱建集团及其参股券商爱建证券。
2022年报披露,爱建集团营业总收入30.08亿元,同比减少30.40%,其中营业收入15.78亿元、利息收入1.81亿元、手续费及佣金收入12.49亿元;归属于母公司所有者的净利润4.82亿元,同比减少58.17%。
爱建集团在年报中披露了作为联营企业的爱建证券业绩:营业收入为2.48亿元,同比下降20.68%;净利润为-0.95亿元,而2021年同期为0.61亿元。
目前,公开渠道未见爱建证券的2022年报,其业绩由盈转亏变动的原因尚不清楚。
