炒股就看金麒麟分析师研报,权威,专业,及时,全面,助您挖掘潜力主题机会!
来源:北证资讯
上市第三天,鼎智科技因大涨22%登上“龙虎榜”,北交所披露的数据显示,机构现身买入榜,与此同时,卖出榜也出现了机构席位。
鼎智科技上市后连续上涨,使得北交所新股出现久违的“赚钱效应”。从近期北交所新股的发行结果来看,打新热度也重新升温。
鼎智科技因大涨登上“龙虎榜”
4月13日在北交所上市的鼎智科技,上市首日表现抢眼,盘中一度大涨近52%,首日收盘涨幅超过23%,打破了此前新股8连破的颓势。
鼎智科技上市后连续三个交易日走强,4月17日再度出现大涨,最高涨幅超25%,至收盘仍上涨22.49%,报50.22元,较其发行价格30.6元累计涨幅64%,成为近期最耀眼的新股。

北交所市场资深人士、广东力量私募基金管理有限公司总经理朱为绎分析认为,4月17日鼎智科技继续大涨,截至当天上午收盘涨幅为18.54%,动态市盈率22.3倍。4月17日也是第一批主板注册制新股有涨跌幅限制的第一天,登康口腔截至上午收盘,价格为34.24元,比上市第一天的最高价65元下跌47%;中电港截至上午收盘,价格为29元,比上市第一天最高价40.3元下跌28%。
在他看来,便宜才是硬道理,鼎智科技上市以来连续上涨,动态市盈率才22倍;反观登康口腔上市以来下跌47%,动态市盈率还有43倍;中电港上市以来下跌28%以后,动态市盈率还有55倍。“一个健康的资本市场应该是企业、保荐机构、打新投资者以及二级市场投资者均能有较好的获得感,如果只有三高发行,那打新投资者和二级市场投资者将获利较少甚至亏损;如果一味地低价发行,打新投资者获利丰厚,二级市场一地鸡毛。”
“鼎智科技的发行上市给新股打了个样,鼎智科技按照2022年高增长的业绩发行,募集资金还不错,打新投资者虽然上市当天涨幅没有主板好,但收益率也不错;上市后每天上涨给二级市场投资者带来较好的收益。”朱为绎认为,鼎智科技实现了企业、保荐机构、一级市场和二级市场的动态平衡,各市场参与者获得感较好。
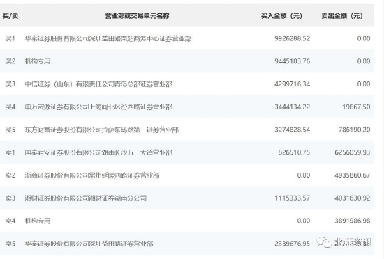
鼎智科技因大涨超20%登上“龙虎榜”,北交所4月17日盘后披露的数据显示,当天有机构现身这只个股的买入榜。买入榜二为机构专用,该机构合计买入945万元,卖出金额为0。

值得一提的是,被称为散户聚集地“拉萨天团”之一的东方财富证券股份有限公司拉萨东环路第一证券营业部,出现在鼎智科技的买入榜五,该营业部合计买入327万元,总卖出金额为79万元。
与此同时,鼎智科技的卖出榜四位置,也出现了机构专用席位,该机构4月17日合计卖出389万元,买入金额为0。
新股申购热度回升
近期,北交所打新热度明显回升,3只实施网上发行的新股中签率持续走低。
数据显示,4.41万户投资者参与了旺成科技的网上发行,有效申购数量为4.34亿股,最终旺成科技网上发行获配户数为2.34万户,网上获配股数为2404.45万股,网上获配比例为5.54%。该中签率较青矩技术的18.48%大幅降低,青矩技术的网上获配比例创出了北交所年内新高。
有3.56万户投资者参与了迪尔化工的申购,有效申购数量为7.28亿股。最终迪尔化工网上获配户数为1.67万户,网上获配股数为2850万股,网上获配比例为3.92%。
民士达最新公布的发行结果显示,6.32万户投资者参与了该股的打新,有效申购数量为46.67亿股,以其发行价格计算,网上合计冻资305.69亿元,为近期新股新高。
最终民士达网上发行获配户数为2.24万户,网上获配股数为3325万股,网上获配比例为0.71%。该中签率为自安达科技以来的新股最低,重新低于1%。
资料显示,民士达的发行价格为6.55元/股,发行市盈率为19.17倍。值得一提的是,民士达的战略配售获得顶格10家机构的追捧,包括公募基金华夏基金管理有限公司(华夏北交所创新中小企业精选两年定开混合发起式证券投资基金),证券公司开源证券,还有多家私募机构上海处厚私募基金管理有限公司(处厚增信私募证券投资基金)、广东力量鼎泰股权投资合伙企业(有限合伙)及有国资背景的山东国泰平安投资管理有限公司等。
有业内人士认为,从”冷门“的鼎智科技上市后的走势来看,申购火热的民士达上市表现值得期待。
