
每经编辑 毕陆名
5月16日,格力员工称孟羽童是被公司开除。据称,她经常旷工接私活。据界面新闻5月17日消息,格力电器(SZ000651)文传中心就孟羽童系“被开除”一事向记者回应:感谢广大网友的关心!祝愿孟羽童和广大网友一切都好!
据蓝鲸财经报道,蝉妈妈网站显示,孟羽童的合作报价为图文15万/条,视频17万/条。而知情人士称目前她在小红书平台没有报价,前几个月报价则在18万-22万之间。
根据公开资料,孟羽童作为小红书上的时尚博主,自2022年3月以来,已陆续发布了近20条创意广告的视频,大多数都是展示她的工作生活感受,并植入相关产品广告,涉及化妆品、香水、平板电脑、汽车等,这些产品均与格力无关。

格力员工:近两个月从未见她加班,考勤异常率80%以上
此前,格力电器方面就旗下直播间“明珠羽童精选”更名为“格力明珠精选”一事,回应红星资本局称,“孟羽童已离开,不在公司任职。”并表示,人员流动很正常。5月11日,孟羽童也通过社交平台表示,已经从格力离开,顺利毕业。
孟羽童在社交媒体平台发帖时,“忙碌”是一个经常出现的词。今年4月,她曾以疑问句的形式透露自己“已经两个月没有一个完整的休息的周末”;当月16日,她表示,当天工作时长超过21小时。
据上海证券报,针对“连续工作21个小时”一事是否属实,记者也向孟羽童的“前同事”进行了一番求证。
“4月1日晚,孟羽童和董明珠确实在抖音进行了一场直播。近2个月从未见过她在公司加班。根据她社交平台发布的内容,我想她所表达的‘工作’内容并非格力的工作。”上述格力市场部人士表示。
在转岗至格力市场部之前,孟羽童作为董明珠的秘书被广为人知。今年初,记者在格力采访董明珠时,孟羽童已经不再担任秘书一职。
彼时,便传出消息称“孟羽童从格力离职”,并已被移出公司通讯录,但其后孟羽童很快就在网上发文予以否认。
记者获悉,去年12月,孟羽童由董明珠的秘书转到格力市场部。之所以转岗,也是因为接了其他品牌的推广活动,被公司进行了谈话。
今年4月,孟羽童表示自己已“轮岗”到市场部,董明珠的说法则是“她现在已经不做秘书了,去做视频去了。”

而上述格力市场部员工透露,自孟羽童2023年来到市场部工作,很少在办公室看到她,经常无故不来上班,工作时间对接时找不到人。在月末部门公示的考勤表格里,能看到她的考勤异常率80%以上。
对于孟羽童在工作之余接其他商务广告的行为,格力电器董事长兼总裁董明珠应该是知情的。但从过往公开信息来看,董明珠未在公开场合对孟羽童的上述行为发表任何批评的言论。4月1日,董明珠在其2023年首场直播中主动透露,孟羽童已经不再是她的秘书。“她现在做视频去了。所以她自己慢慢在这个过程当中(发现自己)更合适这个。”
对于下一阶段的安排,孟羽童表示,将准备继续读书,申请研究生。不过,孟羽童也没有放弃自己网红身份的运营。
有机构开出百万代言费,名字已被格力大量注册商标
不过,孟羽童也没有放弃自己网红身份的运营。
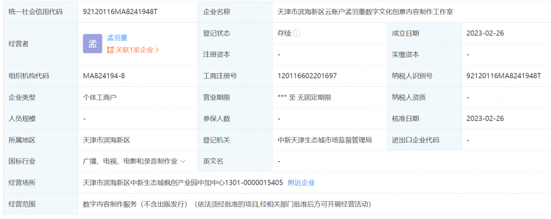
公开资料显示,天津市滨海新区云账户孟羽童数字文化创意内容制作工作室在2023年2月26日成立,企业类型为个体工商户,经营者为孟羽童,经营范围为数字内容制作服务(不含出版发行)。

据青岛广电“点时新闻”官方微博5月13日消息,某考研机构CEO在朋友圈发文称,希望联系到孟羽童本人,并愿意花费百万邀请孟羽童代言。
当当网创始人李国庆此前在社交媒体的视频中谈及孟羽童辞职一事时表示,自己之前就说过早晚会辞职的。年轻人的人生规划或者职场规划有时候是老板的一厢情愿,孟羽童遇到董明珠是遇到良师,愿意给她当垫脚石。在职期间肯定有MCN机构来找她签约,以孟羽童现在的IP签约费保底400万,以后也可能变2000万,这是年轻人的选择,无可厚非。
截至目前,孟羽童微博粉丝数超27万,小红书粉丝数超120万,抖音粉丝数超200万。
不过,孟羽童此后的商业之旅或许不会一帆风顺,因为她的名字“孟羽童”“羽童”已经被格力注册了大量商标。
资料显示,珠海格力电器股份有限公司已申请了多个“羽童”“孟羽童”商标,分类包括军火烟火、机械设备、食品、办公用品、厨房洁具、服装鞋帽、通讯服务、医疗器械、材料加工、化学原料等等,几乎覆盖全部45个国际分类。
其中“羽童”已注册34个,正在初审公告的有10个,仅“日化用品”1个被驳回。而“孟羽童”已注册44个,仅“餐饮住宿”1个被驳回。此外还有“明珠羽童”,已注册全部45个国际分类。
每日经济新闻综合上海证券报、界面新闻、青岛广电“点时新闻”官方微博
