来源:商学院杂志
钟薛高此前利用流量“收割”消费者,并不具有可持续性,其高端产品被消费者认为是在“割韭菜”;后来推出的低端产品也“打”不过伊利、蒙牛、雀巢等,整体发展已经出现问题。
01
钟薛高被爆欠薪、550万元财产被冻结
曾经因为产品价格太高而出圈的“雪糕刺客”钟薛高突然上了热搜。

近日,在各大社交媒体平台上,有多位自称钟薛高前员工的网友发文讨薪,根据这些人的描述,钟薛高从8月份开始工资便延迟发放,理由则是“公司资金现在非常困难”。
昔日网红品牌何以至此?
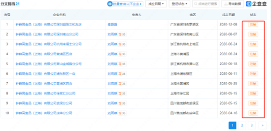
实际上,在营销路上狂奔的钟薛高最终也没能逃过资本的冷遇。2021年完成2亿元A轮融资后,钟薛高未再传出过融资的消息;截至今年6月,钟薛高品牌主体公司21家分支机构均已显示为注销;7月,钟薛高550万元财产被冻结。

另外,钟薛高官方微信已经停更两个月左右。在其小红书官方账号下,也出现了“还钱”“要赔偿金”的留言。还有消费者反映:“积分不给兑换,客服声称没有货。”
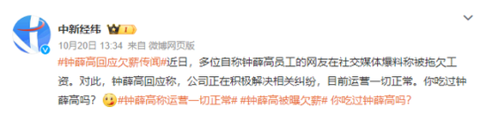
对此,钟薛高回应称“公司正在积极解决相关纠纷,目前运营一切正常”;没有对欠薪一事表示否认。

02
营销起家
回顾钟薛高的发展历程,从2018年诞生开始就走的是定位高端产品路线。
据钟薛高官网介绍,钟薛高成立于2018年,采集对应的百家姓形成了“钟薛高”这一名字,是中式雪糕品牌,雪糕采用中式瓦片型设计,辅以顶部“回”字花纹,意为“回归”本味。
在当年的“双十一”,“厄瓜多尔粉钻”冰淇淋一战成名,限量发售 2 万支,虽然售价高达 66 元,还是一根难求。
2019年,钟薛高销售额就突破了1亿元;从2021年5月到2022年5月,钟薛高共卖出1.5亿支,增长高达176%,营收也达到了8亿元。
2021 年,钟薛高推出“杏余年”和“芝玫龙荔”两个口味的家庭装盒装雪糕,因限量发售一度被代购炒到200元一盒,还要求“配货”,堪称雪糕界的“爱马仕”。
在2020年和2022年的“双十一”,钟薛高也坐上了同品类销量第一的宝座。
钟薛高创始人林盛此前在接受媒体采访时表示,任何基于产品本身的竞争壁垒,其实都不高。特别是对于冰品来说,“你不是高科技产品,你不是人造卫星,你不是火箭发射,你能做到的事情其他品牌都做得到。这种都做得到的情况下,大家比拼的是传播能力的问题。”
据《第一财经广播》报道,钟薛高从2022年6月开始,销量遭遇到了冰点,2022年的年复合增长率降至50%,而以往三年的这一数据都在100%以上。
03
贵价雪糕的AB面
2022年的整个夏天,“雪糕刺客”的话题就没有停过,背后充斥着大众对于“雪糕越来越贵”的不满。网友们甚至立下了一条规矩:便利店里,不认识的雪糕你不要拿。
而作为“刺客”代表的钟薛高,更是遭遇了诞生以来的最大舆论危机。
“31度室温下放1小时不化”以及“火烧不化”等众多话题,几乎把钟薛高“焊”在了热搜上,也让钟薛高着实进入了一种被“架在火上烤”的境地。

对此,钟薛高回应,“我们一向坚持品质第一,至于涉及的卡拉胶也是在安全添加范围内”。
林盛怒发朋友圈,称竞争对手对其抹黑,都是水军在背后搞鬼。

之后,林盛的一次采访发言,直接把钟薛高推上了风口浪尖。
在《艾问人物》节目中,林盛表示:“钟薛高的毛利和传统冷饮企业毛利相比,其实略高。最贵的一支卖过66元,产品成本差不多40块钱,它就那个价格,你爱要不要。我就算拿成本价卖,甚至倒贴一半价格卖,还是会有人说太贵。造雪糕也是需要机器、水电煤、原材料和人工成本的,成本一定是不断涨价的。”
在一系列新闻的影响下,钟薛高卖不动了,不得不低下高傲的头。全系列雪糕都开始大促销,原价十几块,直接降价到 4.99 元一支。
贵价雪糕的出现,有着深刻的商业逻辑。
据《中国新闻周刊》报道,在乳业分析师宋亮看来,贵价雪糕实际上就是用高价格建立品牌壁垒,“某种程度上来说,消费者是在为品牌高额的营销费用买单”。
在居民收入不断上涨的情况下,上述逻辑并没有问题,但当消费者的钱包越捂越紧,批量出现的贵价雪糕,就开始成为“雪糕刺客”。
据艾媒咨询调研数据显示,2022年,我国受访消费者中,超六成消费者对雪糕高定价的态度是认为其溢价太高,营销成本堆起来的。只有18%的受访消费者认为物有所值,物料成本确实高。此外,天眼查数据显示2022年中国消费者对冰淇淋单价的接受度普遍在3-5元之间,占比37%;其次是在5-10元之间,占比33.9%,15元以上的接受度很低。
04
“下沉市场”策略难挽颓势
就在欠薪风波底下,也网友发问,“卖出产品高价的钟薛高,钱去哪里了?”
据悉,钟薛高创始人林盛是广告出身,曾服务过大白兔、味全等快消品品牌,有一套属于自己的营销观,他认为,做品牌必须让自己成为网红、出圈,然后从网红努力走向长红,最后变成品牌。
钟薛高成立之际,就凭借在抖音、小红书等平台和头部主播直播间的快速刷脸,钟薛高迅速在线上发迹。
为了吸引更多的消费者,钟薛高还聘请明星代言、宣传,李佳琦、罗永浩等顶流主播都曾为钟薛高“带货”。一系列动作让钟薛高获得了“冰淇淋网红”的称号。
从2021年开始,钟薛高线下渠道的销售比例不停扩大,并最终在2022年超过线上销售占比。
九派财经记者走访的多家连锁便利店中,不少销售人员告诉九派财经,钟薛高的产品“价不符实”,有顾客普遍反映口感差,会吃出冰渣,过去,在砸钱营销之下,不时有消费者“慕名”前来品尝,但体验过后,被价格‘刺’了,回头客寥寥。当品牌走到线下,和众多平价雪糕挤进一个冰柜时,支撑钟薛高高价的“价值感”所剩无几。
此前在接受红星资本局采访时,林盛也曾表示,钟薛高跑得太快、下沉得太快了。很快地沉下去,其实是个双刃剑。正常来讲,一个产品在一线市场让很多人喜欢,再慢慢去二线,二线的信息来源于一线,接受过程就比较顺,之后再一步一步往下走,到三四五线。钟薛高到线下才三年左右,全国所有地级市几乎都有钟薛高。但整个四五线市场其实没有做好承接准备。当市场没有完全做好准备的时候,它就会放大这种不理解。这些因素加到一起,争议是必然。
随着近年来线上流量红利见顶,钟薛高赖以起家的线上渠道也没能守住优势。根据抖音2023年第二季度品牌畅销榜(冰淇淋TOP10)显示,钟薛高市场占比仅为3.99%,大幅落后于可爱多、伊利、巧乐兹等品牌,而在去年的6.18大促期间,钟薛高还曾是抖音冰淇淋品牌自播销售额第一、抖音电商排行榜冰淇淋行业爆款榜和推荐榜双榜单第一。
在传统电商渠道,钟薛高也颓势明显,今年天猫6.18期间,钟薛高没能入围生鲜店铺销售榜和人气榜的Top10,而在此前,钟薛高曾连续三年蝉联过6.18天猫冰品类目第一,同时获得了2022年天猫生鲜大类目的销冠。
05
钟薛高还能翻身吗?
在国内的冷饮市场,伊利、和路雪、蒙牛、雀巢四巨头强势占据着超过一半的市场份额。即使在钟薛高的巅峰时期,也未尝撼动其分毫。
2021年,钟薛高的营收突破10亿元,而当年,整个冰淇淋的市场规模超过了1600亿元,钟薛高的市占率连1%都不到。
数据显示,2022年中国冰淇淋行业市场规模为1672亿元,稳居全球第一,预计到2027年,市场规模还将突破2000亿元关口。
面对千亿级市场,想分一杯羹者不在少数。
2019年,泸州老窖就曾与钟薛高合作推出了含有白酒的“断片”雪糕,2022年,而茅台推出的59-66元不等的冰淇淋,今年已经卖出了1000万杯,销售额高达6亿多元。
虽然今年3月,钟薛高紧急补救,推出了3.5元一支的雪糕新产品“Sa’saa”,该产品在公司的内部代号为“钟薛不高”。但“钟薛不高”却没有实现喜茶和奈雪价格下沉之后相同的效果,线下商超便利店难觅其踪。
据《国际金融报》报道,食品产业分析师朱丹蓬认为,钟薛高此前利用流量“收割”消费者,并不具有可持续性,其高端产品被消费者认为是在“割韭菜”;后来推出的低端产品也“打”不过伊利、蒙牛、雀巢等,整体发展已经出现问题。
对于钟薛高的下沉市场布局,朱丹蓬也认为,平价雪糕市场是一个充分竞争的市场,钟薛高贸然进入,面临的不仅是强劲对手的倾轧,对本身的品牌形象也会造成影响。
林盛曾表示:“做品牌必须先让自己成为网红、出圈,然后从网红努力走向长红,最后变成品牌。”但是从钟薛高今年夏天的惨败可以看出,在从网红走向长红的道路上,林盛和他的钟薛高显然也没有找到合适的路径。
